
Project Info
Client
CONFIDENTIAL
Category
Ingeniería de DetalleLocation
Tarragona, España.
Description
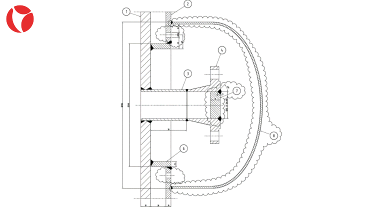
El objetivo de este proyecto fue verificar dos componentes de un RSP vertical. El encamisado contaba con una discontinuidad en donde había una tubuladura con brida ciega, esto provocaba que esa parte no esté en contacto con el aceite térmico. Para sellar esa parte se quitó la brida ciega, se soldó un tope en la brida directamente y luego se cubrió la zona con un cabezal que alcanzaba el encamisado.
Se verificó según el código de RSP ASME Sección VIII Div.1, tanto el disco ciego como el cabezal semielíptico con la herramienta de cálculo PVElite.
 
		 
	 
						 
						 
						 
						 
						 
						 
						 
						 
						 
						 
						 
						 
						 
						 
						 
						 
						 
						 
						 
						 
						 
						 
						 
						 
						 
						 
						 
						 
						 
						 
						 
						 
						 
						 
						 
						 
						 
						 
						 
						 
						 
						 
						 
						 
						 
						 
						 
						 
						 
						 
						 
						 
						 
						 
						 
						 
						 
						 
						 
						 
						 
						 
						 
						 
						 
						 
						 
						

